欣威视通发挥端到端的产品研发能力,推出云平台版的AI智慧通行云平台及局域网版本的Ezface,搭配人脸识别测温终端DM1071-T,提供人脸识别/体温测量/考勤管理一站式平台级服务,解决门禁闸机、考勤打卡、陌生人拜访等场景下对安全、考勤、门禁的需求,为用户提供可快速集成的智慧通行软硬件一体化系统解决方案。
▼
局域网版管理后台Ezface
Ezface 实时监控画面
Ezface 功能设置界面
Ezface 考勤记录界面
EzFace采用“C/S 架构”运行于 PC 平台上,是一款强大的人脸识别体温筛查系统管理软件。用于实时记录体温、是否配戴口罩及识别时间等信息,可实现设备管理、人员管理、视频监控、数据统计及通行权限等功能,简单易用高效,轻松实现对人脸识别体温筛查设备的远程智能化管理。
▼
AI智慧通行云平台
▼
支持千万级数量终端连接
AI智慧通行云平台采用分布式部署,支持千万级数量不同系统的终端连接,支持多操作系统云端部署,集七大功能??槲惶?,界面架构清晰,功能明确,操作简单易上手,并采用blowfish+动态密钥加密方式,使得整套系统更加安全可靠,深度挖掘用户需求,已在国内外用户中获得大量好评。
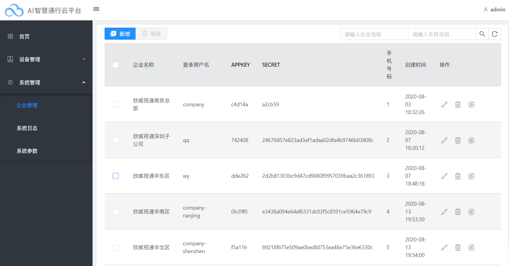
AI智慧通行云平台基于专用于物联网的AMQP协议,因此可支持千万级数量终端的连接,同时可通过云平台分配多个用户/企业管理账号,以满足大型集团总部对多个分公司权限及考勤数据的集中管理。

多企业管理界面
▼
支持Android和Linux终端连接
鉴于Android系统的人脸识别测温终端的可定制性强及画面动效丰富,和Linux系统的稳定及执行的高效率,AI智慧通行云平台支持这两种不同系统终端的同时连接,一个平台即可实现对不同系统终端安全、高效、统一的管理及控制,让部署更加灵活,适用于更多的客户群体及应用场景 。

▼
多操作系统云端部署
▼
模块全面,操作简单
▼
七大功能???/span>
关键要素概况展示
AI智慧通行云平台的可视化管理操作系统,功能??榛智逦?,设置简单便捷,可快速上手操作;针对使用者最关心的几个关键要素在首页就进行了概况展示,帮助使用者快速了解总刷脸数、员工刷脸数、访客刷脸数、陌生人刷脸数、设备统计、昨日考勤、今日通行、实时监控的相关数据和记录。
▼
人员管理
在AI智慧通行云平台中,我们从用户的需求出发,严格定义了员工、访客、黑名单、陌生人的角色权限,方便用户个性化管理。
▼
访客管理
只需要几条主要信息即可新增访客,同时支持导出访客信息、自动进行访客统计,导出访客拜访记录信息等功能。

访客统计包含访客ID、姓名、首次识别时间、首次识别设备、末次识别时间、末次识别设备、通行次数信息,同时支持访客ID、姓名及时间段筛选搜索,访客记录全盘掌握。
▼
设备管理
AI智慧通行云平台支持设备的分组,便于用户查找和分区;对设备的基本信息,包含名称、编号、状态、分组、IP地址、固件版本、设备人脸数、音量等进行了逐一的展示,帮助使用者快速了解每台设备的状态信息;同时支持远程开门、添加人员、时间校准、参数设置。
除此之外,还支持对终端设备多达27项的远程参数设置,包含使用频率较高的设置,
如:语言、音量、陌生人报警、口罩检测、门禁模式、显示屏模式、补光灯模式等。
▼
通行规则
在此??橹校?/span>分别对员工、访客以及黑名单不同的身份人员进行个性化的通行授权设置,例如规定ID为001号的员工在每周一至每周五的08:00-23:59的时间段可以通过刷脸进入名称为05001530终端控制的门禁。通行规则的设置,可实现对员工的分区域考勤,访客到访也可自动匹配权限,增加拜访好感,提升接待效率 ,设置黑名单的人员,可实现实时监控,提高了整体系统的安全级别,智能又便捷。

▼
考勤管理
考勤规则的灵活设置对考勤统计有着重要的意义,AI智慧通行云平台支持用户设置考勤规则,包括班次、节日、公休日期设置,
时间段精确到分钟,充分满足用户对考勤规则的个性化需求。

同时云平台自动记录考勤详细情况(含员工ID、名称、打卡日期、类型、首次打卡时间、末次打卡时间、考勤状态、加班时长、体温)及考勤统计(员工姓名、正常、迟到、早退、缺勤、总次数情况)并形成报表,支持多条件筛查以及一键导出,让考勤管理不再繁杂。

▼
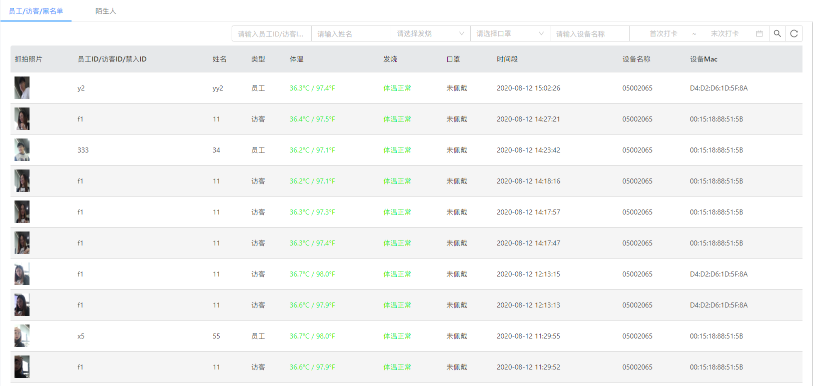
识别记录
对于所有已识别到的人员,人脸识别测温终端会自动抓拍照片,并上传到云端,生成识别记录,形成统计图表;支持对ID、姓名、发烧与否、戴口罩与否、设备名称、首次打卡和末次打卡时间等条件的筛选,可快速定位异常体温人员,追根溯源,查找对应通行记录。


▼
系统管理
支持体温异常邮件通知功能,可设置多收件邮箱,并对发送内容(体温异常和考勤数据 )、发送周期进行点选,一旦有体温异常的员工、访客或者陌生人,自动发出提醒邮件,及时通知,特殊情况不遗漏,帮助管理人员做好提前的防范工作。

▼
支持二次开发
除此之外,我们还可以提供标准化API接口的调用,以支持合作伙伴的二次开发;同时,欣威视通还接受云平台定制服务,实现用户多场景的个性化功能需求。












